
核心技术及亮点
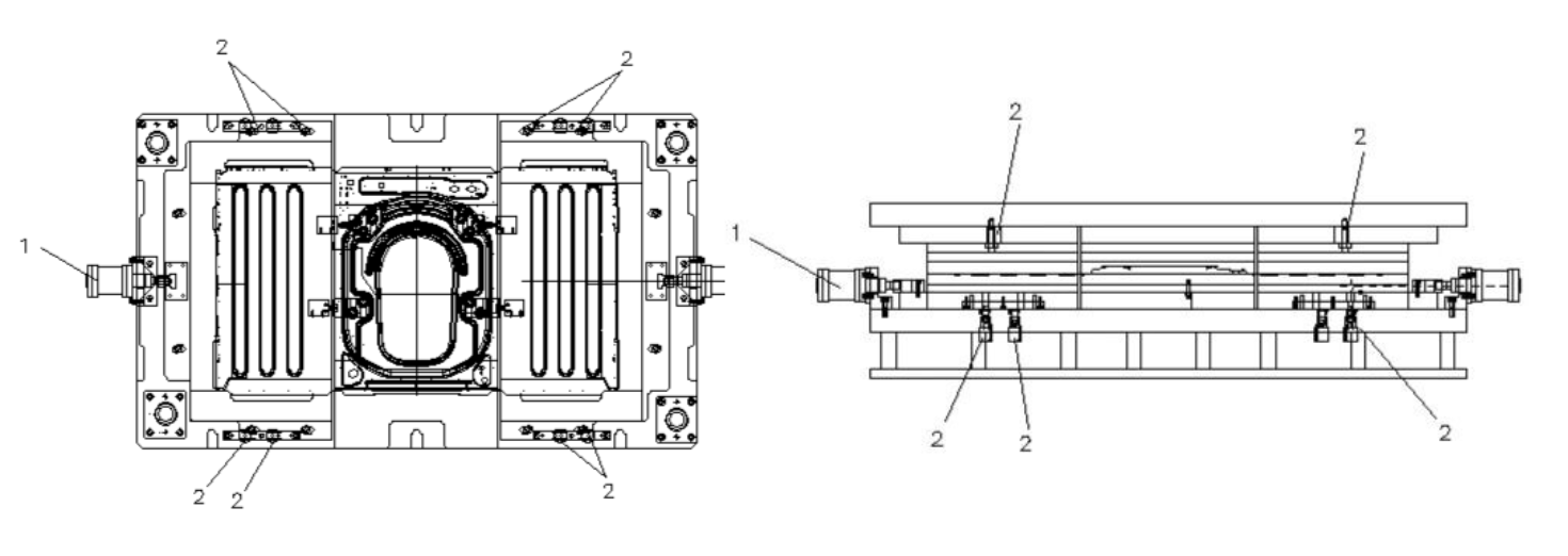
三种规格生产:采用独特的可调式模具结构设计,在不更换整套模具的条件下,也能轻松实现三种不同规格产品的生产,这套模具
内置了活动和固定模具以及连接组件等可调节的换型结构部件,结合气缸、定位气缸等电气驱动元件。通过PLC预设的程序,可以实现模具的快速、精准换型,整个过程由智能系统控制,稳定可靠。

(左图—调整气缸 、右图—定位汽缸)
Part.1
节能减排
采用了高效节能的电气驱动元件,结合快速换模技术减少的能源浪费,共同构成了该模具装置的绿色生产体系,该设计通过最小化模具更换频次及缩减所需生产空间,有效降低了能源消耗与碳排放。此举不仅优化了资源利用,还积极响应了国家节能减排的政策号召。 Part.2 成本节约 为客户节省高达60%的开模成本,同时减少了因存储多套模具而占用的宝贵生产空间,实现了成本与空间的双重节约。 Part.3 智能自动化 引入了PLC系统,不仅简化了操作流程,还实现了模具与冲床机械手的无缝对接。另外内置气缸滑板式自动退料机构,避免常规顶出装置对制件PCM板漆面的划伤,使得整套模具既能满足智能换型要求,又能满足冲床机械手自动取料,这确保了整个生产流程的高度自动化和智能化,避免了人工换模的繁琐与误差。

产品荣誉
平台信息提交-隐私协议
· 隐私政策
暂无内容